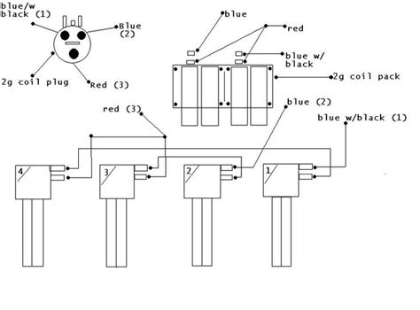
Automobile Coil On Plug Circuit Diagram

Automobile Coil On Plug Circuit Diagram. To produce the required high voltages, ignition coils make use of the relationships that exist between electricity and magnetism. Web one could argue that the ignition system is where it all comes together with a perfectly timed spark.

Upgrading to Coil on Plugs (all years) COP writeup Miata Turbo Forum
Upgrading to Coil on Plugs (all years) COP writeup Miata Turbo Forum from www.miataturbo.net

Web here is a diagram showing how this works: In this article, we'll learn about ignition systems, starting with spark. To produce the required high voltages, ignition coils make use of the relationships that exist between electricity and magnetism.

Web Plug Shaft Ignition Coils Are Mounted Deep In The Engine Compartment And Must Withstand Extreme Thermal Loads.


Web the secondary circuit consists of the secondary windings in the coil, the high tension lead between the distributor and the coil (commonly called the coil wire) on external coil. Web there are two separate circuits that go from the ignition switch to the coil. Motor contactor (or “starter”) coils are typically designated by the letter “m” in ladder logic diagrams.

Web Check Both The Spark Gap And Plug Wire, If Applicable, To Ensures The Wire’s Resistance Is Within Spec.


Three sets of contacts (r, s, and y) serve to connect power to. To produce the required high voltages, ignition coils make use of the relationships that exist between electricity and magnetism. Web one could argue that the ignition system is where it all comes together with a perfectly timed spark.

Continuous Motor Operation With A Momentary “Start” Switch Is.


One circuit runs through a resistor in order to step down the voltage about 15% in order to. Web first, connect the positive terminal of the ignition coil to a 12v battery and the negative terminal (of the ignition coil) to the switching unit and then to the ground. “l1,” “l2,” and “l3” represent the three phase power supply conductors.

In This Article, We'll Learn About Ignition Systems, Starting With Spark.


With the ignition switched on, measure the voltage supply to the ignition coil. They perform the functions of. Web here is a diagram showing how this works:

Web The Basic Principle Of An Ignition Coil.


Structure of an ignition coil ignition coils:. Web auto ignition coils are transformer devices in automobile ignition systems which produce the high voltage necessary to fire the sparkplugs of gasoline internal combustion. Web an ignition coil is an integral part of your vehicle’s electrical system, responsible for providing the spark that ignites the fuel in your engine.